Тест на понимание элементарных законов механики (в картинках)

Тест создан 23 марта 2014 г., автор dima_tech.
Данный тест ориентирован на выявление физико-технической понятливости и способностей испытуемых, как подростков, так и взрослых.
Тест на понимание элементарных законов механики (в картинках) состоит из 40 вопросов, был пройден 8342 раза.
...
Если левая шестерня поворачивается в указанном стрелкой направлении, то в каком направлении будет поворачиваться правая шестерня?



...
Какая гусеница должна двигаться быстрее, чтобы трактор поворачивался в указанном стрелкой направлении?



...
Если верхнее колесо вращается в направлении, указанном стрелкой, то в каком направлении вращается нижнее колесо?



...
Какая из машин с жидкостью в бочке тормозит?



...
Какое колесо кресла-коляски вращается быстрее при движении коляски?



...
Если нижняя шестерня вращается в направлении, указанном стрелкой, то в каком направлении вращается верхняя шестерня?



...
В каком направлении будет двигаться зубчатое колесо, если ручку слева двигать вниз-вверх?



...
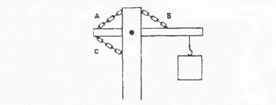
Какая цепь не нужна для поддержки груза?



...
В речке, где вода течет в направлении, указанном стрелкой, установлены три турбины. Из труб над ними падает вода. Какая из турбин будет вращаться быстрее?



...
Какая из осей, А или В, вращается быстрее или обе оси вращаются с одинаковой скоростью?



...
Если нижнее колесо вращается в направлении, указанном стрелкой, то в каком направлении будет вращаться ось X?



...
В каком направлении будет вращаться вертушка, приспособленная для полива, если в нее пустить воду под напором?



...
Колесо и тормозная колодка изготовлены из одного и того же материала. Что быстрее износится: колесо или колодка?



...
Одинаковой ли плотности жидкостями заполнены емкости?



...
В каком направлении будет вращаться вентилятор под напором воздуха?



...
В каком положении остановится диск после свободного движения по ровной поверхности?



...
Какими ножницами легче резать лист железа?



...
Какая из шестерен вращается быстрее?



...
Вес фигур А, В и С одинаковый. Какую из них труднее опрокинуть?



...
На какой картинке правильно изображена траектория падения бомбы из самолета?



...
Какой из камней легче двигать?



...
Какая из осей вращается медленнее?



...
В каком положении остановится деревянный диск со вставленным в него металлическим кружком, если диск катнуть?



...
На какой емкости правильно нанесены риски, обозначающие равные объемы?



...
На каком из рисунков правильно изображена вода, выливающаяся из отверстий сосуда?



...
Как будет двигаться подвешенный груз, если верхнее колесо вращается в направлении стрелки?




...
Какое из колес, изготовленных из одинакового материала, будет вращаться дольше, если их раскрутить до одинаковой скорости?



...
Каким способом легче везти камень по гладкой дороге?



...
При каком виде передачи подъем в гору на велосипеде тяжелее?



...
На дне емкости находится песок. Поверх него — галька (камешки). Как изменится уровень насыпи в емкости, если гальку и песок перемешать?



...
Какая из лошадок должна бежать на повороте быстрее для того, чтобы ее не обогнала другая?



...
Какой из двух рельсов должен быть выше на повороте?



...
Как распределяется вес между крюками А и В?



...
Какая из осей вращается медленнее?



...
Материал и сечения тросов А и В одинаковые. Какой из них выдержит большую нагрузку?



...
Какой из тракторов должен отъехать дальше для того, чтобы лодки остановились у берега?



...
Какой талью легче поднять груз?



...
На центральной оси находится ведущее колесо, вращающее конусы. Какой из конусов будет вращаться быстрее?



...
Если маленькое колесо будет вращаться в направлении, указанном стрелкой, то как будет вращаться большое колесо?



...
Какой из лебедок труднее поднимать груз?



Комментарии